La mielosquisis dorsal limitada es un defecto de la neurulación primaria producido por una disyunción incompleta del ectodermo cutáneo y neural. Consta de un defecto cutáneo y un tallo fibroneural que comunica con la médula espinal1-2.
Presentamos el caso de un neonato que al nacimiento presenta una lesión circular cervical de 2×3cm cubierta por una membrana flácida (fig. 1). Las ecografías prenatales fueron normales. El tratamiento con ácido fólico fue interrumpido en los primeros meses de embarazo.
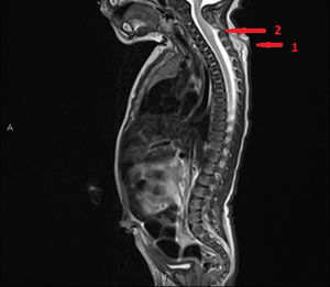
Al día siguiente se objetiva engrosamiento de la lesión con contenido serohemático que aumenta de tamaño con el aumento de la presión intraabdominal (fig. 2). Se realiza una ecografía cervical, que muestra un trayecto hipoecogénico que alcanza un área de pequeña ausencia de fusión de láminas posteriores. Se realiza una resonancia magnética, en la cual se visualiza un trayecto ascendente que alcanza el saco tecal, ligeramente dilatado a nivel de C4-C5, con médula levemente traccionada hacia el mismo con inclusión de las cubiertas meníngeas (fig. 3). A los 4 días de vida se realiza disección y cierre del defecto. La anatomía patológica describe tejido glioneuronal en dermis media-profunda con positividad para S100 y proteína glial fibrilar (GFAP), además de un tracto fibroso incompleto con celularidad positiva para GFAP.





